一、產品簡介
ZJSC-1.5KG防爆罐采用高強度、耐沖擊碳素鋼板制造而成。其排爆性能優越,排爆罐內有穩定放置爆炸物網袋,底部帶有萬向輪,便于轉移、運輸,能有效防止罐內爆炸物爆炸后產生的沖擊波和碎片水平擴散,從而避免對周圍人員的傷害,以及對貴重儀器、文物檔案和特殊公共場所的損壞。產品按照<GA871-2010>防爆罐標準研制生產的,是公安、武警、法院、檢察院、民航、鐵路、港口、海關、重要場所及大型活動等防爆安全檢查部門必備的裝備。

二、技術指標
●防爆罐規格:外直徑660mmX內直徑630mmX總高度747mm
●總重量270kg。
●防爆罐材質:內、外層采用15mm高強度、耐沖擊碳素鋼板,符合GB700-1988標準中所采用的碳素鋼板有關要求。
●防爆能力:能抵御1.5kgTNT炸藥的爆炸能量,并能容納所有橫向爆炸破片,外罐罐體完整,無裂紋,罐體附件無脫落。
●使用年限:如無爆炸發生,可終身存放。
三、適用場所
火車站, 地鐵,法院,博物館,體育館,會展中心,機場海關,港口、使館等防爆場所,主要是確保人員的安全,維護場
所秩序,一般在安檢通道處配備了專用防爆罐,以防不法分子攜帶爆炸品危害乘客人身安全。
三、產品構造
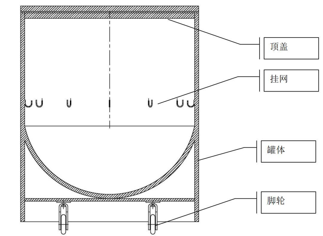
防爆罐主要由罐體、頂蓋、腳輪、掛網等組成,如圖

防爆罐主要由罐體、頂蓋、腳輪、掛網等組成,如圖

四、使用方法
將疑似爆炸物品放入防爆罐內的掛網上,蓋上防爆罐的蓋將防爆罐拖到室外的安全地帶,對疑似爆炸物品進行處理。

